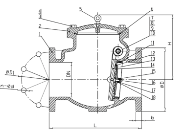
Leyon FM UL Check Valves Swing Flange SCF

This kind of UL FM valve is widely used in the field of fire protection, and it is connected by flange, which is convenient and quick to install. Pressure rated up to 200 psi, 350 psi. The valve is designed for above ground installations, and it is specifically used in fire protection sprinkler systems. A valve stem and nut are mounted on the outside of the valve body for easy identification of whether the valve is in the open or closed position.

Category:

Application Areas

From soaring commercial towers and industrial plants to vital municipal projects and residential complexes, our firefighting valves provide unmatched reliability where safety matters most. Designed to perform under pressure, they safeguard lives and assets across diverse environments—ensuring your fire protection system is always ready when it counts.

Why Choose Our Leyon

Engineered for Critical Environments

We deliver reliable firefighting valves with advanced manufacturing, strict testing, and global standards—backed by fast delivery and expert support.

Why Choose Our firdip

A1: Our products meet ISO, UL, FM, CE and other international certifications to satisfy different market and project requirements.

A2: Yes, we offer customization in size, pressure rating, connection type, and surface treatment to meet specific application needs.

A3: Standard models can usually be shipped within 7–15 days. Bulk or customized orders will require confirmation of the exact lead time.

A4: We implement strict raw material inspection, process control, and final product testing, backed by warranty and after-sales support.

error: Content is protected !!