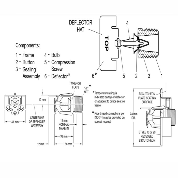
Description
| Model | HV High Velocity
Directional Spray Nozzles |
| Material | Brass,Bronze |
| Discharge Coefficient | K = 80 LPM/bar1/2 |
| Temperature Rating °F (°C)1 | 57°C, 68°C, and 79°C |
| Thread Size | 1/2 inch NPT |
| Maximum Working Pressure, psi (bar) | 175 psi (12,1 bar) |








